เรียกว่าเป็นรูปแบบใหม่ของสมาร์ทโฟนและ แท็บเล็ต แบบพับหน้าจอได้จะเป็นแนวทางใหม่ของการออกแบบ เพราะก่อนหน้านี้มีหลายค่ายได้เตรียมเปิดตัวสินค้าใหม่ที่พับหน้าจอได้ โดยเฉพาะทางซัมซุงที่คาดว่าจะจะเปิดตัวมือถือพับหน้าจอได้ ในวันที่ 20 กุมภาพันธ์ นี้ พร้อมกับ Samsung Galaxy S10
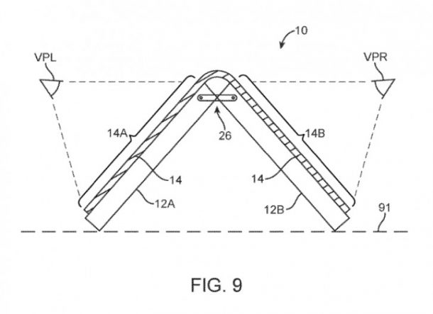
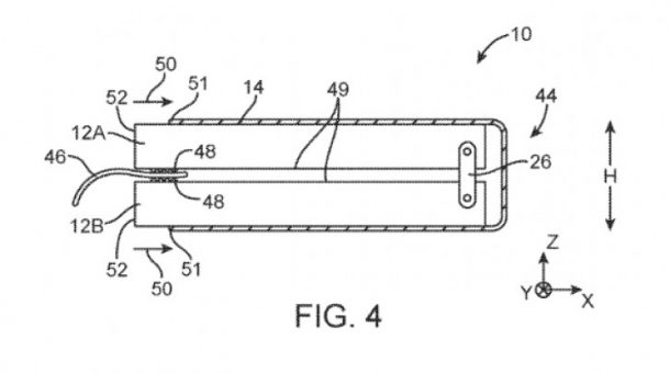
ล่าสุดมีการพบ ภาพการจดสิทธิบัตร หน้าจอพับหน้าจอได้ของ apple ออกมาให้ชมแล้ว โดยมันเป็นภาพของอุปกรณ์พับจอได้ ที่มีความคล้ายกับมือถือกับหน้าจอ โดยจะมีจุดเด่นที่มันสามารถพับทบกันมาได้อย่างสมบูรณ์ไม่ทิ้งช่องว่างไว้เหมือนกับหน้าจอพับได้ทั่วไป เพราะมีข้อต่อแบบพิเศษ และสามารถโค้งงอได้มากกว่า โดยทั้งหมดเป็นการจดสิทธิบัตร ยังไม่ได้ประกาศสร้างอย่างเป็นทางการ แต่ก็เป็นแนวทางในการเปิดตัวมือถือในอนาคตของ apple
นอกจากนี้ยังมีภาพของงานออกแบบเพิ่มเติมที่อาจจะทำไปใช้ในโหมดชมภาพยนตร์ สำหรับสมาร์ทโฟน เพราะในภาพเราจะเห็นได้ว่าจะมีารวางเครื่องลงกับพื้นแล้วพับงอหน้าจอขึ้นมาได้
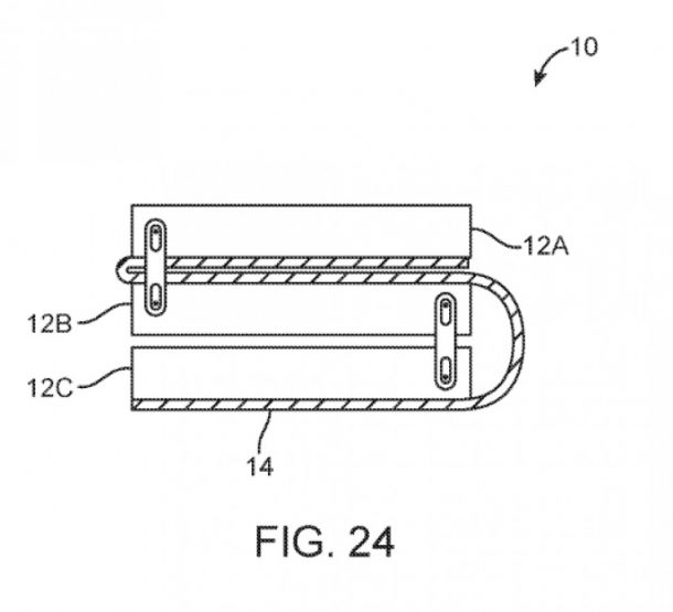
นอกจากนี้ยังมีภาพของการจด สิทธิบัตร หน้าจอพับหน้าจอได้ของ apple ที่สามารถพับได้มากถึง 3 ทบ ที่เหมาะมากสำหรับการใช้งานบน แท็บเล็ต เพราะเราจะย่อเครื่องได้มากเมื่อพับลง และสามารถกางเป็นหน้าจอขนาดใหญ่ได้

 
									 
					











